
1
TechnischeInformation/TechnicalInformation
FD600R17KE3_B2
IGBT-Module
IGBT-modules
preparedby:WB
approvedby:DTS
dateofpublication:2013-11-25
revision:2.2
VorläufigeDaten
PreliminaryData
IGBT,Brems-Chopper/IGBT,Brake-Chopper
HöchstzulässigeWerte/MaximumRatedValues
Kollektor-Emitter-Sperrspannung
Collector-emittervoltage
T
vj
= 25°C
V
CES
1700
V
Kollektor-Dauergleichstrom
ContinuousDCcollectorcurrent
T
C
= 80°C, T
vj max
= 150°C
T
C
= 25°C, T
vj max
= 150°C
I
C nom
I
C
600
950
A
A
PeriodischerKollektor-Spitzenstrom
Repetitivepeakcollectorcurrent
t
P
= 1 ms
I
CRM
1200
A
Gesamt-Verlustleistung
Totalpowerdissipation
T
C
= 25°C, T
vj max
= 150°C
P
tot
4,30
kW
Gate-Emitter-Spitzenspannung
Gate-emitterpeakvoltage
V
GES
+/-20
V
CharakteristischeWerte/CharacteristicValues
min.
typ.
max.
Kollektor-Emitter-Sättigungsspannung
Collector-emittersaturationvoltage
I
C
= 600 A, V
GE
= 15 V
I
C
= 600 A, V
GE
= 15 V
V
CE sat
2,00
2,40
2,45
V
V
T
vj
= 25°C
T
vj
= 125°C
Gate-Schwellenspannung
Gatethresholdvoltage
I
C
= 24,0 mA, V
CE
= V
GE
, T
vj
= 25°C
V
GEth
5,2
5,8
6,4
V
Gateladung
Gatecharge
V
GE
= -15 V ... +15 V
Q
G
7,00
µC
InternerGatewiderstand
Internalgateresistor
T
vj
= 25°C
R
Gint
2,1
Ω
Eingangskapazität
Inputcapacitance
f = 1 MHz, T
vj
= 25°C, V
CE
= 25 V, V
GE
= 0 V
C
ies
54,0
nF
Rückwirkungskapazität
Reversetransfercapacitance
f = 1 MHz, T
vj
= 25°C, V
CE
= 25 V, V
GE
= 0 V
C
res
1,70
nF
Kollektor-Emitter-Reststrom
Collector-emittercut-offcurrent
V
CE
= 1700 V, V
GE
= 0 V, T
vj
= 25°C
I
CES
5,0
mA
Gate-Emitter-Reststrom
Gate-emitterleakagecurrent
V
CE
= 0 V, V
GE
= 20 V, T
vj
= 25°C
I
GES
400
nA
Einschaltverzögerungszeit,induktiveLast
Turn-ondelaytime,inductiveload
I
C
= 600 A, V
CE
= 900 V
V
GE
= ±15 V
R
Gon
= 2,4
Ω
t
d on
0,65
0,70
µs
µs
T
vj
= 25°C
T
vj
= 125°C
Anstiegszeit,induktiveLast
Risetime,inductiveload
I
C
= 600 A, V
CE
= 900 V
V
GE
= ±15 V
R
Gon
= 2,4
Ω
t
r
0,16
0,20
µs
µs
T
vj
= 25°C
T
vj
= 125°C
Abschaltverzögerungszeit,induktiveLast
Turn-offdelaytime,inductiveload
I
C
= 600 A, V
CE
= 900 V
V
GE
= ±15 V
R
Goff
= 3,0
Ω
t
d off
1,30
1,60
µs
µs
T
vj
= 25°C
T
vj
= 125°C
Fallzeit,induktiveLast
Falltime,inductiveload
I
C
= 600 A, V
CE
= 900 V
V
GE
= ±15 V
R
Goff
= 3,0
Ω
t
f
0,18
0,30
µs
µs
T
vj
= 25°C
T
vj
= 125°C
EinschaltverlustenergieproPuls
Turn-onenergylossperpulse
I
C
= 600 A, V
CE
= 900 V, L
S
= 50 nH
V
GE
= ±15 V
R
Gon
= 2,4
Ω
E
on
125
185
mJ
mJ
T
vj
= 25°C
T
vj
= 125°C
AbschaltverlustenergieproPuls
Turn-offenergylossperpulse
I
C
= 600 A, V
CE
= 900 V, L
S
= 50 nH
V
GE
= ±15 V
R
Goff
= 3,0
Ω
E
off
150
220
mJ
mJ
T
vj
= 25°C
T
vj
= 125°C
Kurzschlußverhalten
SCdata
V
GE
≤
15 V, V
CC
= 1000 V
V
CEmax
= V
CES
-L
sCE
·di/dt
I
SC
2400
A
T
vj
= 125°C
t
P
≤
10 µs,
Wärmewiderstand,ChipbisGehäuse
Thermalresistance,junctiontocase
proIGBT/perIGBT
R
thJC
29,0 K/kW
Wärmewiderstand,GehäusebisKühlkörper
Thermalresistance,casetoheatsink
proIGBT/perIGBT
λ
Paste
=1W/(m·K)/
λ
grease
=1W/(m·K)
R
thCH
24,0
K/kW
TemperaturimSchaltbetrieb
Temperatureunderswitchingconditions
T
vj op
-40
125
°C

2
TechnischeInformation/TechnicalInformation
FD600R17KE3_B2
IGBT-Module
IGBT-modules
preparedby:WB
approvedby:DTS
dateofpublication:2013-11-25
revision:2.2
VorläufigeDaten
PreliminaryData
Diode,Brems-Chopper/Diode,Brake-Chopper
HöchstzulässigeWerte/MaximumRatedValues
PeriodischeSpitzensperrspannung
Repetitivepeakreversevoltage
T
vj
= 25°C
V
RRM
1700
V
Dauergleichstrom
ContinuousDCforwardcurrent
I
F
600
A
PeriodischerSpitzenstrom
Repetitivepeakforwardcurrent
t
P
= 1 ms
I
FRM
1200
A
Grenzlastintegral
I²t-value
V
R
= 0 V, t
P
= 10 ms, T
vj
= 125°C
I²t
125
kA²s
CharakteristischeWerte/CharacteristicValues
min.
typ.
max.
Durchlassspannung
Forwardvoltage
I
F
= 600 A, V
GE
= 0 V
I
F
= 600 A, V
GE
= 0 V
V
F
1,60
1,70
2,00
V
V
T
vj
= 25°C
T
vj
= 125°C
Rückstromspitze
Peakreverserecoverycurrent
I
F
= 600 A, - di
F
/dt = 3750 A/µs (T
vj
=125°C)
V
R
= 900 V
V
GE
= -15 V
I
RM
710
775
A
A
T
vj
= 25°C
T
vj
= 125°C
Sperrverzögerungsladung
Recoveredcharge
I
F
= 600 A, - di
F
/dt = 3750 A/µs (T
vj
=125°C)
V
R
= 900 V
V
GE
= -15 V
Q
r
180
300
µC
µC
T
vj
= 25°C
T
vj
= 125°C
AbschaltenergieproPuls
Reverserecoveryenergy
I
F
= 600 A, - di
F
/dt = 3750 A/µs (T
vj
=125°C)
V
R
= 900 V
V
GE
= -15 V
E
rec
120
210
mJ
mJ
T
vj
= 25°C
T
vj
= 125°C
Wärmewiderstand,ChipbisGehäuse
Thermalresistance,junctiontocase
proDiode/perdiode
R
thJC
55,0 K/kW
Wärmewiderstand,GehäusebisKühlkörper
Thermalresistance,casetoheatsink
proDiode/perdiode
λ
Paste
=1W/(m·K)/
λ
grease
=1W/(m·K)
R
thCH
46,0
K/kW
TemperaturimSchaltbetrieb
Temperatureunderswitchingconditions
T
vj op
-40
125
°C

3
TechnischeInformation/TechnicalInformation
FD600R17KE3_B2
IGBT-Module
IGBT-modules
preparedby:WB
approvedby:DTS
dateofpublication:2013-11-25
revision:2.2
VorläufigeDaten
PreliminaryData
Diode,Revers/Diode,Reverse
HöchstzulässigeWerte/MaximumRatedValues
PeriodischeSpitzensperrspannung
Repetitivepeakreversevoltage
T
vj
= 25°C
V
RRM
1700
V
Dauergleichstrom
ContinuousDCforwardcurrent
I
F
600
A
PeriodischerSpitzenstrom
Repetitivepeakforwardcurrent
t
P
= 1 ms
I
FRM
1200
A
Grenzlastintegral
I²t-value
V
R
= 0 V, t
P
= 10 ms, T
vj
= 125°C
I²t
81,0
kA²s
CharakteristischeWerte/CharacteristicValues
min.
typ.
max.
Durchlassspannung
Forwardvoltage
I
F
= 600 A, V
GE
= 0 V
I
F
= 600 A, V
GE
= 0 V
V
F
1,80
1,90
2,20
V
V
T
vj
= 25°C
T
vj
= 125°C
Rückstromspitze
Peakreverserecoverycurrent
I
F
= 600 A, - di
F
/dt = 3750 A/µs (T
vj
=125°C)
V
R
= 900 V
I
RM
590
645
A
A
T
vj
= 25°C
T
vj
= 125°C
Sperrverzögerungsladung
Recoveredcharge
I
F
= 600 A, - di
F
/dt = 3750 A/µs (T
vj
=125°C)
V
R
= 900 V
Q
r
155
260
µC
µC
T
vj
= 25°C
T
vj
= 125°C
AbschaltenergieproPuls
Reverserecoveryenergy
I
F
= 600 A, - di
F
/dt = 3750 A/µs (T
vj
=125°C)
V
R
= 900 V
E
rec
96,0
170
mJ
mJ
T
vj
= 25°C
T
vj
= 125°C
Wärmewiderstand,ChipbisGehäuse
Thermalresistance,junctiontocase
proDiode/perdiode
R
thJC
51,0 K/kW
Wärmewiderstand,GehäusebisKühlkörper
Thermalresistance,casetoheatsink
proDiode/perdiode
λ
Paste
=1W/(m·K)/
λ
grease
=1W/(m·K)
R
thCH
16,0
K/kW
TemperaturimSchaltbetrieb
Temperatureunderswitchingconditions
T
vj op
-40
125
°C

4
TechnischeInformation/TechnicalInformation
FD600R17KE3_B2
IGBT-Module
IGBT-modules
preparedby:WB
approvedby:DTS
dateofpublication:2013-11-25
revision:2.2
VorläufigeDaten
PreliminaryData
Modul/Module
Isolations-Prüfspannung
Isolationtestvoltage
RMS, f = 50 Hz, t = 1 min.
V
ISOL
4,0
kV
MaterialModulgrundplatte
Materialofmodulebaseplate
AlSiC
InnereIsolation
Internalisolation
Basisisolierung(Schutzklasse1,EN61140)
basicinsulation(class1,IEC61140)
AlN
Kriechstrecke
Creepagedistance
Kontakt-Kühlkörper/terminaltoheatsink
Kontakt-Kontakt/terminaltoterminal
15,0
15,0
mm
Luftstrecke
Clearance
Kontakt-Kühlkörper/terminaltoheatsink
Kontakt-Kontakt/terminaltoterminal
10,0
10,0
mm
VergleichszahlderKriechwegbildung
Comperativetrackingindex
CTI
> 250
min.
typ.
max.
Wärmewiderstand,GehäusebisKühlkörper
Thermalresistance,casetoheatsink
proModul/permodule
λ
Paste
=1W/(m·K)/
λ
grease
=1W/(m·K)
R
thCH
8,00
K/kW
Modulstreuinduktivität
Strayinductancemodule
L
sCE
20
nH
Modulleitungswiderstand,Anschlüsse-
Chip
Moduleleadresistance,terminals-chip
T
C
=25°C,proSchalter/perswitch
R
CC'+EE'
0,37
m
Ω
Lagertemperatur
Storagetemperature
T
stg
-40
125
°C
Anzugsdrehmomentf.Modulmontage
Mountingtorqueformodulmounting
SchraubeM6-Montagegem.gültigerApplikationsschrift
ScrewM6-Mountingaccordingtovalidapplicationnote
M
4,25
-
5,75
Nm
Anzugsdrehmomentf.elektr.Anschlüsse
Terminalconnectiontorque
SchraubeM4-Montagegem.gültigerApplikationsschrift
ScrewM4-Mountingaccordingtovalidapplicationnote
SchraubeM8-Montagegem.gültigerApplikationsschrift
ScrewM8-Mountingaccordingtovalidapplicationnote
M
1,8
8,0
-
-
2,1
10
Nm
Nm
Gewicht
Weight
G
1050
g

5
TechnischeInformation/TechnicalInformation
FD600R17KE3_B2
IGBT-Module
IGBT-modules
preparedby:WB
approvedby:DTS
dateofpublication:2013-11-25
revision:2.2
VorläufigeDaten
PreliminaryData
AusgangskennlinieIGBT,Brems-Chopper(typisch)
outputcharacteristicIGBT,Brake-Chopper(typical)
I
C
=f(V
CE
)
V
GE
=15V
V
CE
[V]
I
C
[A]
0,0
0,5
1,0
1,5
2,0
2,5
3,0
3,5
4,0
0
200
400
600
800
1000
1200
T
vj
= 25°C
T
vj
= 125°C
AusgangskennlinienfeldIGBT,Brems-Chopper(typisch)
outputcharacteristicIGBT,Brake-Chopper(typical)
I
C
=f(V
CE
)
T
vj
=125°C
V
CE
[V]
I
C
[A]
0,0
0,5
1,0
1,5
2,0
2,5
3,0
3,5
4,0
4,5
5,0
0
200
400
600
800
1000
1200
V
GE
= 20 V
V
GE
= 15 V
V
GE
= 12 V
V
GE
= 10 V
V
GE
= 9 V
V
GE
= 8 V
ÜbertragungscharakteristikIGBT,Brems-Chopper(typisch)
transfercharacteristicIGBT,Brake-Chopper(typical)
I
C
=f(V
GE
)
V
CE
=20V
V
GE
[V]
I
C
[A]
5
6
7
8
9
10
11
12
13
0
200
400
600
800
1000
1200
T
vj
= 25°C
T
vj
= 125°C
SchaltverlusteIGBT,Brems-Chopper(typisch)
switchinglossesIGBT,Brake-Chopper(typical)
E
on
=f(I
C
),E
off
=f(I
C
)
V
GE
=±15V,R
Gon
=2.4
Ω
,R
Goff
=3
Ω
,V
CE
=900V
I
C
[A]
E [mJ]
0
200
400
600
800
1000
1200
0
50
100
150
200
250
300
350
400
450
500
550
E
on
, T
vj
= 125°C
E
off
, T
vj
= 125°C

6
TechnischeInformation/TechnicalInformation
FD600R17KE3_B2
IGBT-Module
IGBT-modules
preparedby:WB
approvedby:DTS
dateofpublication:2013-11-25
revision:2.2
VorläufigeDaten
PreliminaryData
SchaltverlusteIGBT,Brems-Chopper(typisch)
switchinglossesIGBT,Brake-Chopper(typical)
E
on
=f(R
G
),E
off
=f(R
G
)
V
GE
=±15V,I
C
=600A,V
CE
=900V
R
G
[
Ω
]
E [mJ]
0
2
4
6
8
10 12 14 16 18 20 22 24
0
100
200
300
400
500
600
700
800
900
1000
E
on
, T
vj
= 125°C
E
off
, T
vj
= 125°C
TransienterWärmewiderstandIGBT,Brems-Chopper
transientthermalimpedanceIGBT,Brake-Chopper
Z
thJC
=f(t)
t [s]
Z
thJC
[K/kW]
0,001
0,01
0,1
1
10
1
10
100
Z
thJC
: IGBT
i:
r
i
[K/kW]:
τ
i
[s]:
1
5,8
0,01
2
5,8
0,04
3
11,6
0,09
4
5,8
0,2
SichererRückw.-Arbeitsber.IGBT,Brems-Chopper(RBSOA)
reversebiassafeoperatingareaIGBT,Brake-Chopper
(RBSOA)
I
C
=f(V
CE
)
V
GE
=±15V,R
Goff
=3
Ω
,T
vj
=125°C
V
CE
[V]
I
C
[A]
0
200
400
600
800 1000 1200 1400 1600 1800
0
100
200
300
400
500
600
700
800
900
1000
1100
1200
1300
I
C
, Modul
I
C
, Chip
DurchlasskennliniederDiode,Brems-Chopper(typisch)
forwardcharacteristicofDiode,Brake-Chopper(typical)
I
F
=f(V
F
)
V
F
[V]
I
F
[A]
0,0
0,5
1,0
1,5
2,0
2,5
3,0
0
200
400
600
800
1000
1200
T
vj
= 25°C
T
vj
= 125°C

7
TechnischeInformation/TechnicalInformation
FD600R17KE3_B2
IGBT-Module
IGBT-modules
preparedby:WB
approvedby:DTS
dateofpublication:2013-11-25
revision:2.2
VorläufigeDaten
PreliminaryData
SchaltverlusteDiode,Brems-Chopper(typisch)
switchinglossesDiode,Brake-Chopper(typical)
E
rec
=f(I
F
)
R
Gon
=2.4
Ω
,V
CE
=900V
I
F
[A]
E [mJ]
0
200
400
600
800
1000
1200
0
50
100
150
200
250
300
E
rec
, T
vj
= 125°C
SchaltverlusteDiode,Brems-Chopper(typisch)
switchinglossesDiode,Brake-Chopper(typical)
E
rec
=f(R
G
)
I
F
=600A,V
CE
=900V
R
G
[
Ω
]
E [mJ]
0
2
4
6
8
10 12 14 16 18 20 22 24
0
25
50
75
100
125
150
175
200
225
250
E
rec
, T
vj
= 125°C
TransienterWärmewiderstandDiode,Brems-Chopper
transientthermalimpedanceDiode,Brake-Chopper
Z
thJC
=f(t)
t [s]
Z
thJC
[K/kW]
0,001
0,01
0,1
1
10
1
10
100
Z
thJC
: Diode
i:
r
i
[K/kW]:
τ
i
[s]:
1
11
0,01
2
11
0,04
3
22
0,09
4
11
0,2
DurchlasskennliniederDiode,Revers(typisch)
forwardcharacteristicofDiode,Reverse(typical)
I
F
=f(V
F
)
V
F
[V]
I
F
[A]
0,0
0,5
1,0
1,5
2,0
2,5
3,0
0
100
200
300
400
500
600
700
800
900
1000
1100
1200
T
vj
= 25°C
T
vj
= 125°C

8
TechnischeInformation/TechnicalInformation
FD600R17KE3_B2
IGBT-Module
IGBT-modules
preparedby:WB
approvedby:DTS
dateofpublication:2013-11-25
revision:2.2
VorläufigeDaten
PreliminaryData
SchaltverlusteDiode,Revers(typisch)
switchinglossesDiode,Reverse(typical)
E
rec
=f(I
F
)
R
Gon
=2.4
Ω
,V
CE
=900V
I
F
[A]
E [mJ]
0
200
400
600
800
1000
1200
0
50
100
150
200
250
300
E
rec
, T
vj
= 125°C
SchaltverlusteDiode,Revers(typisch)
switchinglossesDiode,Reverse(typical)
E
rec
=f(R
G
)
I
F
=600A,V
CE
=900V
R
G
[
Ω
]
E [mJ]
0
2
4
6
8
10 12 14 16 18 20 22 24
0
25
50
75
100
125
150
175
200
225
250
E
rec
, T
vj
= 125°C
TransienterWärmewiderstandDiode,Revers
transientthermalimpedanceDiode,Reverse
Z
thJC
=f(t)
t [s]
Z
thJC
[K/kW]
0,001
0,01
0,1
1
10
1
10
100
Z
thJC
: Diode
i:
r
i
[K/kW]:
τ
i
[s]:
1
10,2
0,01
2
10,2
0,04
3
20,4
0,09
4
10,2
0,2

9
TechnischeInformation/TechnicalInformation
FD600R17KE3_B2
IGBT-Module
IGBT-modules
preparedby:WB
approvedby:DTS
dateofpublication:2013-11-25
revision:2.2
VorläufigeDaten
PreliminaryData
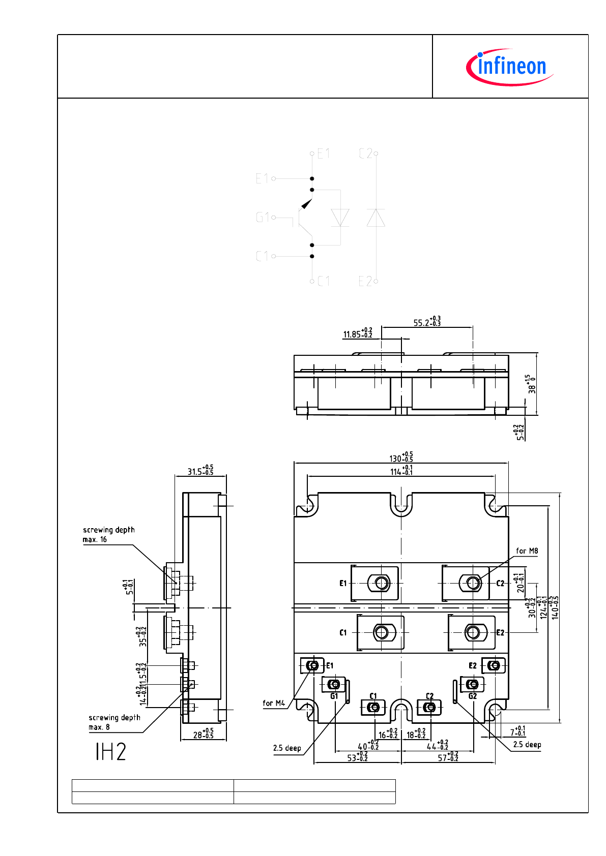
Schaltplan/circuit_diagram_headline
Gehäuseabmessungen/packageoutlines

10
TechnischeInformation/TechnicalInformation
FD600R17KE3_B2
IGBT-Module
IGBT-modules
preparedby:WB
approvedby:DTS
dateofpublication:2013-11-25
revision:2.2
VorläufigeDaten
PreliminaryData
Nutzungsbedingungen
DieindiesemProduktdatenblattenthaltenenDatensindausschließlichfürtechnischgeschultesFachpersonalbestimmt.DieBeurteilung
derEignungdiesesProduktesfürIhreAnwendungsowiedieBeurteilungderVollständigkeitderbereitgestelltenProduktdatenfürdiese
AnwendungobliegtIhnenbzw.IhrentechnischenAbteilungen.
IndiesemProduktdatenblattwerdendiejenigenMerkmalebeschrieben,fürdiewireineliefervertraglicheGewährleistungübernehmen.Eine
solcheGewährleistungrichtetsichausschließlichnachMaßgabederimjeweiligenLiefervertragenthaltenenBestimmungen.Garantien
jeglicherArtwerdenfürdasProduktunddessenEigenschaftenkeinesfallsübernommen.DieAngabenindengültigenAnwendungs-und
MontagehinweisendesModulssindzubeachten.
SolltenSievonunsProduktinformationenbenötigen,dieüberdenInhaltdiesesProduktdatenblattshinausgehenundinsbesondereeine
spezifischeVerwendungunddenEinsatzdiesesProduktesbetreffen,setzenSiesichbittemitdemfürSiezuständigenVertriebsbüroin
Verbindung(siehewww.infineon.com,Vertrieb&Kontakt).FürInteressentenhaltenwirApplicationNotesbereit.
AufgrunddertechnischenAnforderungenkönnteunserProduktgesundheitsgefährdendeSubstanzenenthalten.BeiRückfragenzudenin
diesemProduktjeweilsenthaltenenSubstanzensetzenSiesichbitteebenfallsmitdemfürSiezuständigenVertriebsbüroinVerbindung.
SolltenSiebeabsichtigen,dasProduktinAnwendungenderLuftfahrt,ingesundheits-oderlebensgefährdendenoderlebenserhaltenden
Anwendungsbereicheneinzusetzen,bittenwirumMitteilung.Wirweisendaraufhin,dasswirfürdieseFälle
-diegemeinsameDurchführungeinesRisiko-undQualitätsassessments;
-denAbschlussvonspeziellenQualitätssicherungsvereinbarungen;
-diegemeinsameEinführungvonMaßnahmenzueinerlaufendenProduktbeobachtungdringendempfehlenund
gegebenenfallsdieBelieferungvonderUmsetzungsolcherMaßnahmenabhängigmachen.
Soweiterforderlich,bittenwirSie,entsprechendeHinweiseanIhreKundenzugeben.
InhaltlicheÄnderungendiesesProduktdatenblattsbleibenvorbehalten.
Terms&Conditionsofusage
Thedatacontainedinthisproductdatasheetisexclusivelyintendedfortechnicallytrainedstaff.Youandyourtechnicaldepartmentswill
havetoevaluatethesuitabilityoftheproductfortheintendedapplicationandthecompletenessoftheproductdatawithrespecttosuch
application.
Thisproductdatasheetisdescribingthecharacteristicsofthisproductforwhichawarrantyisgranted.Anysuchwarrantyisgranted
exclusivelypursuantthetermsandconditionsofthesupplyagreement.Therewillbenoguaranteeofanykindfortheproductandits
characteristics.Theinformationinthevalidapplication-andassemblynotesofthemodulemustbeconsidered.
Shouldyourequireproductinformationinexcessofthedatagiveninthisproductdatasheetorwhichconcernsthespecificapplicationof
ourproduct,pleasecontactthesalesoffice,whichisresponsibleforyou(seewww.infineon.com).Forthosethatarespecifically
interestedwemayprovideapplicationnotes.
Duetotechnicalrequirementsourproductmaycontaindangeroussubstances.Forinformationonthetypesinquestionpleasecontactthe
salesoffice,whichisresponsibleforyou.
ShouldyouintendtousetheProductinaviationapplications,inhealthorliveendangeringorlifesupportapplications,pleasenotify.Please
note,thatforanysuchapplicationsweurgentlyrecommend
-toperformjointRiskandQualityAssessments;
-theconclusionofQualityAgreements;
-toestablishjointmeasuresofanongoingproductsurvey,andthatwemaymakedeliverydependedon
therealizationofanysuchmeasures.
Ifandtotheextentnecessary,pleaseforwardequivalentnoticestoyourcustomers.
Changesofthisproductdatasheetarereserved.